记者获悉,12月1日,国网新能源云公示2026年度河北增量新能源项目机制电价竞价结果。
根据公示结果,河北南网共10424个项目入围:
其中光伏竞价项目机制电量规模1400652.541兆瓦时,机制电价水平0.3344元/千瓦时,项目10320个;
风电竞价项目机制电量规模14201070.167兆瓦时,机制电价水平0.353元/千瓦时,项目104个。
冀北电网共1209个项目入围:
其中光伏竞价项目机制电量规模3613181.236兆瓦时,机制电价水平0.352元/千瓦时,项目1172个。
风电竞价项目:机制电量规模10370416.581兆瓦时,机制电价水平0.347元/千瓦时,项目37个,均为集中式风电项目。
截至目前,已经有15个省市公布机制电价竞价结果,其中宁夏、青海、海南3省为上限出清。

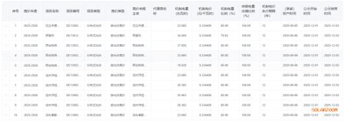
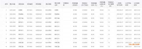
部分项目如下:
河北南网

冀北电网


扫一扫关注微信